概述
百葉窗式擋板門是我公司的特色產品,其可用于煙氣脫硫系統吸收塔進、出口或旁路煙道上(即FGD擋板門),或用于煙氣脫硝及煙氣除塵系統中,風門通常采用百葉窗式雙層擋板結構,關斷時雙層擋板之間通入密封風,將含有腐蝕性氣體的煙氣有效隔斷,并使其泄漏量為零,其中FGD擋板門分三類:原煙氣入口擋板門(煙氣溫度高)、凈煙氣出口擋板門(防腐要求高)、旁路擋板門(煙氣溫度高,防腐要求高;需快速開啟,可靠性要求高),一般還會有GGH入口擋板門和GGH出口擋板門。
產品特點
◎擋板門的每個門葉設計成雙層,每個葉片的搭接處、葉片與框架限位片搭接處加裝不銹鋼彈性密封片,利用彈性密封片的彈性密封,有效杜絕了關門后的漏風量。
◎一般來說,對于三個煙氣擋板門的材質可選擇如下:煙氣FGD進口煙氣擋板門由于介質溫度高于100℃,在酸露 點的溫度之上,所以可以選用Q235A的材質,但密封片采用C-276;FGD的出口煙氣擋板門由于介質溫度為80℃左右(結露位置),容易發生低溫腐蝕,所以材料的選擇必須考慮充分的防腐措施,這里葉片材質選取合金1.4529,主軸和外殼材質為碳鋼包敷1.4529,密封片為C-276;旁路煙氣擋板門在FGD正常運行時,兩側分別與高溫煙氣和低溫煙氣接觸,一般在低溫煙氣側考慮防腐,框架為Q235-A,內襯1.4529,葉片為高溫煙氣側Q235-A,低溫煙氣側1.4529,軸也選用1.4529的材質,密封片選用C-276。
◎除每層擋板上配有密封元件外,還向兩層擋板中間的空腔通入密封空氣,以進一步提高擋板門的密封性。擋板門的密封空氣系統包括一臺密封風機加一臺備用風機。密封氣壓力至少比煙氣*壓力高0.5KPa,擋板門密封空氣站應配有電加熱器,將密封空氣加熱至一定溫度,目的是減小雙層擋板之間的溫差變形和熱變形應力,提高密封可靠性。
◎為了使風門門板在高溫情況下不易變形,雙層板之間設有加強筋。
◎采用我公司特色軸封,不卡澀,保證密封的嚴密性、長期性。

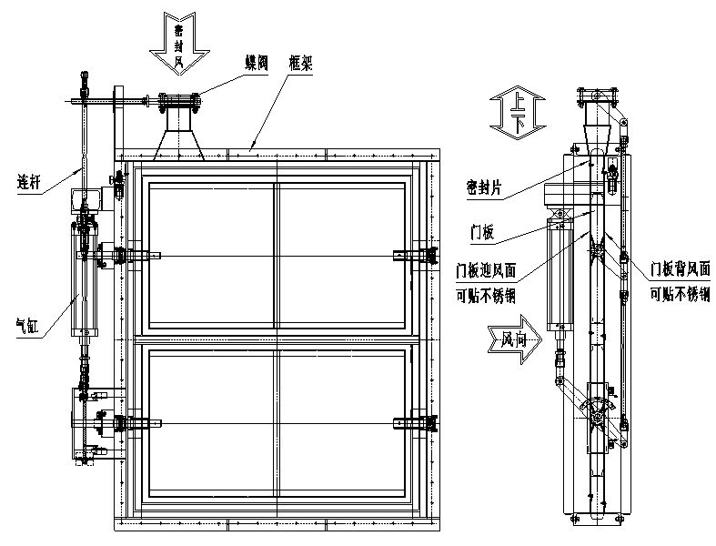
煙氣脫硫擋板門結構圖
版權所有:洛陽廣盈機械設備有限公司 豫ICP備17037702號-1 網站地圖 XML地圖
豫公網安備 41030502000613號
技術支持:青峰網絡